Become a MacRumors Supporter for $50/year with no ads, ability to filter front page stories, and private forums.

sunny5

Suspended
Original poster
Jun 11, 2021
1,851
1,722

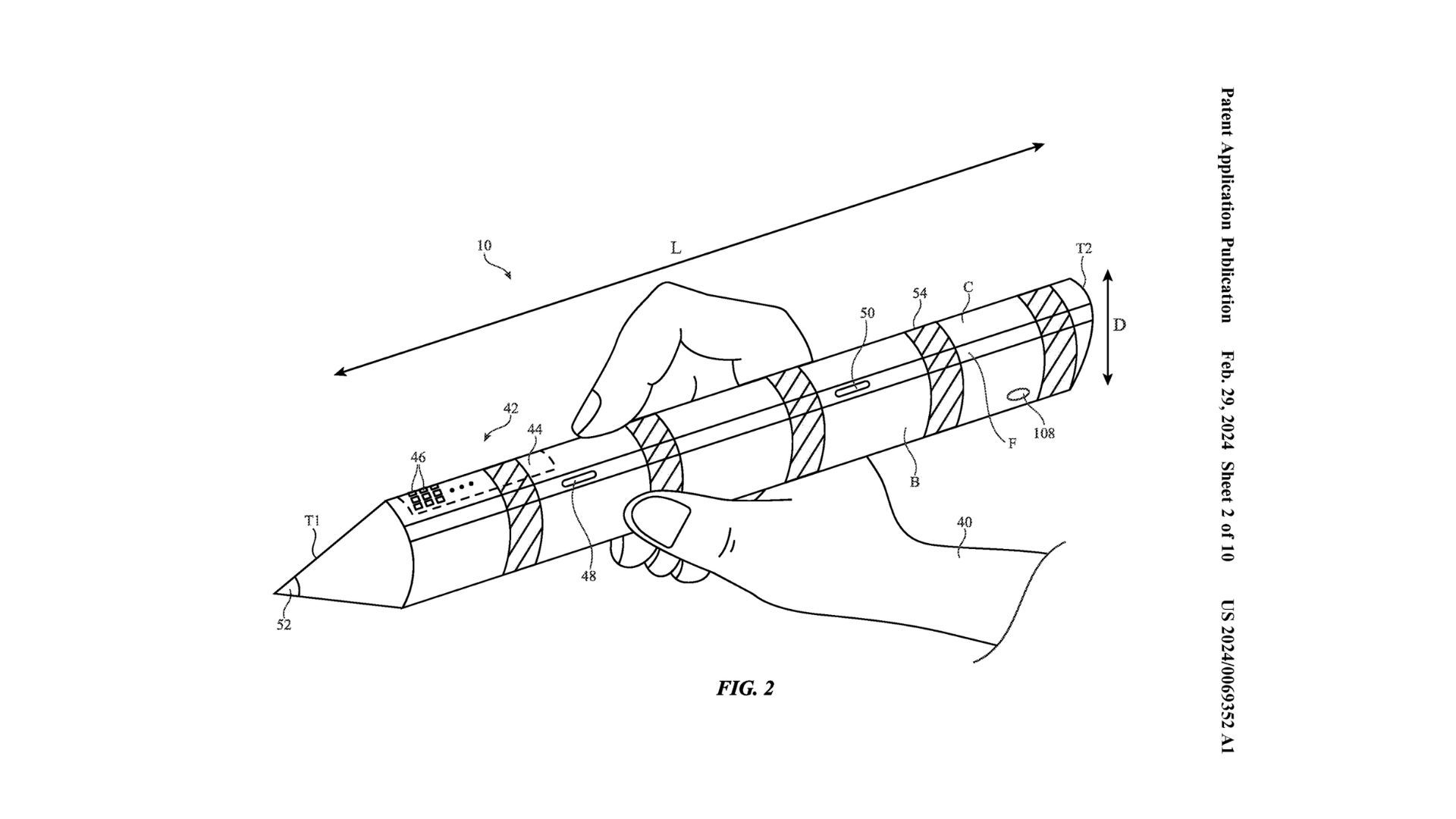
A hardware controller for Vision Pro has been revealed as a patent. It says it meant for precision but that's the main purpose of the hardware controller just like others are using.
 
Hmm, some kind of apple pencil style input would surely be useful, but I don't think this would solve any gaming needs with no joystick controls.

There are still 3 unsolved parts to the vision pro IMO - gaming input (joysticks/buttons/motion for both hands) to enable traditional VR gaming, keyboard input (Ideally something portable that would fit in the $200 case), and drawing input - which some kind of pencil would solve.
 
Register on MacRumors! This sidebar will go away, and you'll see fewer ads.